Виды вентиляции
Основных видов вентиляции всего два: принудительная и естественная, а в ряде случаев используется комбинированная, которую иногда выделяют в отдельную категорию.
Как видно из названий, в первой разновидности вентиляции используется принудительная подача воздуха, для чего применяются воздушные насосы или вентиляторы. Во втором случае приток воздуха происходит за счет разности его температуры и давления – в помещении и вне его. Чтобы обеспечить воздухообмен, достаточно правильно расположить вентиляционные отверстия. Также часть воздуха может проникать в помещение через естественные отверстия – например, щели под дверями.
Если есть такая возможность, то выгоднее всего использовать комбинированная систему – пока с воздухообменом справляется естественная вентиляция, принудительная находится в режиме ожидания.
Естественная вентиляция
Если обеспечивается троекратная смена объем воздуха за час, то в стандартном шестиметровом (по высоте) помещении можно обойтись организацией естественного воздухообмена.
При понижении потолка на каждый метр придется увеличить воздухооборот на 25% минимум. Плюс, следует в любом случае проектировать воздухообмен с некоторым запасом.
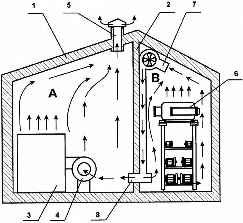
![]()
Схема работы вентиляционной системы в котельной частного дома Источник pew.ledikycora.ru.net
Схема предельно проста – напротив котла, в двери или стене, организуется входное отверстие вентиляции (диаметр зависит от мощности котла), которое располагается не выше его рабочей области. Второе, вытяжное отверстие организуется над котлом, обычно на него крепится воздуховод с обратным клапаном (чтобы вытяжка работала только в одну сторону) и «зонтиком» на наружной стороне (чтобы трубу не заливало).
Расстояние между «входом» и «выходом» воздуха в помещении должно быть максимально возможным для обеспечения лучшей тяги.
Недостатки естественной вентиляции:
- Зависимость от погодных условий. Необходимо защищать воздуховоды от внешних воздействий среды.
- Сложность точного расчета кондиционирования. В зависимости от направления и силы ветра в помещение может поступать различный объем воздуха.
- Очень сложно спроектировать одну систему вентиляции для нескольких комнат – чтобы через все помещения проходила одна труба. Преимущественно вывод из каждой комнаты делается сразу на улицу.
Принудительная вентиляция
Принудительная подача воздуха осуществляется за счет так называемых «механических устройств», то есть вентиляторов. Такой тип обустройства воздухообмена удобен сразу двумя особенностями:
- Появляется возможность установки климатического оборудования, с калориферами и фильтрами, которое будет очищать и нагревать поступающий воздух;
- Также появляется возможность включения системы только в необходимые моменты, что позволит экономить электроэнергию, включая ее, например, только при работе котла.
Минусы принудительной вентиляции следующие:
Стоимость – прежде всего, такая система обойдется дороже, чем естественная вентиляция;
В ряде случаев, шумность – например, при установке климатического оборудования с кондиционированием;
Выбор оборудования без должной подготовки может быть чреват нарушением безопасности: в частности, для газовых котельных важно иметь пожароустойчивое оборудование.

Отопительная система это достаточно сложный комплекс оборудования, поэтому его подбором и наладкой должны заниматься профессионалы Источник stroimdom.com.ua
Советы, которые необходимо знать

Схема подключения к дымоходу.
Обыкновенную кирпичную трубу, как самый бюджетный вариант, необходимо использовать в качестве вытяжки только для обыкновенных твердотопливных котлов, которые работают на дровах. В случае, если в перспективе планируется выполнить переход на газовое топливо, в кирпичную трубу понадобится вставить вкладыш из нержавеющей стали.
Для современных котлов, которые работают на газе, жидком топливе, а также для твердотопливных котлов, работающих на угле, торфе либо с медленным режимом горения (пеллетные, пиролизные) следует использовать керамические дымоходы.
Стальной дымоход выбирается в случае реконструкции отопления в частных домах — при установке котлов в помещениях, где нет канала в строительных конструкциях для размещения керамического дымохода.
При использовании многотопливных котлов либо двух котлов, которые работают на разных видах топлива и подключены к общей вытяжке, параметры подобной изготавливаемой конструкции должны соответствовать самым жестким условиям работы.
Не допускается использовать стальные тонкостенные вытяжки, которые предназначаются для газовых котлов, для работы с твердотопливным котлом, потому как они прогорят.
https://youtube.com/watch?v=QdX7doy4KNs
Вытяжки, которые предназначаются для работы в условиях конденсации, имеют возможность работать в сухом состоянии, однако ни в коем случае не наоборот.
Для котлов, которые работают на твердом топливе, выбираются вытяжки, которые являются стойкими к возгоранию сажи.
Следует знать, что естественная вентиляция малозатратна и проста, зависит от погоды и совершенно не поддается автоматизации. Приточно-вытяжная принудительная вентиляция имеет возможность обеспечить комфортные условия проживания, не обращая внимания на погоду, однако за это придется платить.
Типы вентиляции помещения для газового котла
Естественного перемещения

В этом случае воздух передвигается из-за разности давления и температуры в помещении и снаружи сквозь вентиляционные отверстия, окна, двери.
Такая система не поддаётся контролю и может неэффективно работать, например, летом, когда перепад температур внутри и вне помещения незначителен.
Чтобы не возникло проблем, в случае выбора такой системы вентиляции, нужно оборудовать приточно-вытяжные каналы, основанные на естественной тяге.
В заранее подготовленные отверстия в стене устанавливаются вентиляционные трубы, оснащённые сеткой для защиты от попадания мусора, и обратным клапаном — для разделения исходящего и входящего воздушных потоков.
Эта система также применяется как дополнительная, для улучшения общего эффекта от вентиляции.
Искусственного или принудительного
В этом случае используют вентиляторы. Циркуляция воздуха регулируется механическим путём. В зависимости от диаметра сечения воздуховода, подбираются и монтируются канальные устройства.
Важно! Вытяжная вентиляция с искусственным перемещением воздуха более безопасна для котельной, чем с естественным, поскольку направление и сила потока воздуха контролируется. При выборе системы искусственной вытяжки важно правильно рассчитать производительность вентиляционной системы
При выборе системы искусственной вытяжки важно правильно рассчитать производительность вентиляционной системы

Формула: объём помещения, нуждающегося в вентилировании умножить на необходимое количество раз полной смены воздуха в помещении в час (согласно санитарным нормам этот коэффициент равен 3).
Полученное значение необходимо скорректировать (увеличить) с учётом коэффициента преодоления сопротивления дымохода.
Искусственная вытяжка оборудуется автоматической системой, позволяющей полностью контролировать процесс. Например, вентиляторы включатся в момент включения котла.
Справка! Оптимальный выбор для котельной — сочетание естественной и искусственной вентиляции. В этом случае учитываются большинство внешних факторов, поскольку одна система дублирует другую. Например, если отключится электричество, циркуляция воздуха будет происходить путём естественного обмена.
Критерии и нормативы
Существуют свои нормы вентиляции для газового котла и помещения с ним. Имеет значение тип отсек сгорания аппарата – закрытый или открытый.
Котлы с закрытой камерой сгорания должны оснащаться коаксиальным каналом. По нему синхронно идут два процесса: в горелку проникает воздух с улицы, и устраняются результаты горения.

Вентиляция в помещении с газовым котлом монтируется с учётом таких критериев:
- Максимальное число единиц газовой техники для подключения к дымоходу – 2. При этом не имеет значения их удалённость и позиция.
- Продукты горения проникают в дымоходы на дистанции минимум 50 см на различные уровни. При подаче только с одного уровня в дымоотвод ставится рассечка, имеющая высоту от 50 см.
- Абсолютная герметичность все вентиляционной системы. Должна исключаться даже минимальная утечка горючего и копоти.
- Швы на участках соединений дымоотводов покрываются термостойким герметиком.
- Все элементы системы оснащаются термоизоляцией. Это ключевая мера против возгорания.
- Вентиляция оборудуется та, чтобы образовывался отток в трёхкратном воздухообмене, шла подача с одним оттоком, и добавлялся воздушный объём для горения.
Для аппаратов с открытой камерой сгорания основные критерии отражены в СниП 2.04. 05-91. Если их мощность не превосходит 30 кВт, их можно монтировать на кухне, только там должна отсутствовать плита.

А модели с закрытым отсеком в этих помещениях использовать позволяется.
Если мощность аппарата свыше 30 кВт, для него создаётся отдельная пристройка – котельная. К ней предъявляются следующие требования:
Наличие двух вариантов воздухообмена: принудительного и естественного. Площадь – минимум 15 кв.м. Наименьшая высота потолков – 2,4 м. По нормам это показатель 6 м. но если он меньше, применяется поправочное значение 0,25 на каждый метр вниз. На 1 куб.м окна по площади достигают 300 кв.см. Наличие отдельного входа. В пристройке можно устроить дверь, ведущую в жилой сектор. Участок монтажа оборудования покрывается негорючими материалами, например листами из металла или асбокартона. Если монтируется техника с открытой горелкой, минимальная длина дымоотвода составляет 4 м, количество поворотов в углах – не более 3
Это важно условие для образования тяги. Схематически вентиляцию в котельной отображают так:. Схематически вентиляцию в котельной отображают так:
Схематически вентиляцию в котельной отображают так:

Канала для воздушной циркуляции нужно создавать ещё на стадии строительства. Их минимальный диаметр – 20 см. После финальных расчётов можно монтировать вентиляторы и небольшие решётки с переходными гильзами.
Вентиляция кухни с газовой плитой
Очень часто на кухнях с естественной вентиляцией воздух не очищается должным образом. Это не сложно проверить. Просто выкурите одну сигарету и оставьте комнату закрытой на 15 минут. Если остаются следы дыма, это означает, что вентиляция не контролируется своей функцией. Причин может быть много: ошибка в проектировании здания, недобросовестная воля строителей, отсутствие должного ухода за установкой. Необходимо принять меры.
Требования СНиП 42-01 для газовых печей следующие:
- потолки высотой не менее 220 см;
- наличие вентиляционного проема или окна с вентилятором;
- зазор между дверью и полом (или проемом) составляет не менее 0,25 квадратных метров.
Требования к вентиляции кухни с газовой плитой
Для обеспечения достаточного воздухообмена газовая плита должна отвечать следующим требованиям к вентиляции газовой плиты SNiP 42-01:
- впотолка более 2 м 20 см;
- наличие вентиляционного канала или окна с вентиляционным отверстием в верхней части;
- под или в нижней части двери находится прорезь или отверстия общей площадью 25 квадратных дюймов и более.
Отток воздуха
Наиболее распространенным способом нормализации вентиляции над газовой плитой является установка вытяжки. Вентилятор удаляет воздух, плавающий над варочной панелью, запахи пищи и угарный газ. А широкий зонтик вытяжки направит дымы непосредственно в вентиляционные каналы. Таким образом, вытяжка обеспечивает принудительную вытяжку на кухне с газовой варочной панелью. Стоимость вытяжек варьируется в широких пределах и зависит от мощности, дополнительных функций, дизайна и производителя.
Есть два типа капюшонов:
- с фильтрацией и рециркуляцией воздуха;
- с выходом воздуха наружу.
Первый тип вытяжки нельзя назвать частью системы вентиляции, так как он никоим образом не участвует в воздухообмене. Однако последние полностью обеспечивают удаление паров. На месте которого с улицы подымается свежий воздух. Однако, если на кухне с газовой плитой есть пластиковые окна, необходимо дополнительно проветрить подачу.
Мощность навеса выбирается в соответствии с формулой:
M=O * 10
O – это объем воздуха на кухне, рассчитанный следующим образом:
O=H * L * S
H – высота помещения, L – длина помещения, S – ширина помещения.
Согласно правилам, разрешается устанавливать механическую вентиляцию для газового котла приточно-вытяжной системы в квартирах жилых домов, не нарушая при этом общую вентиляцию здания. Другими словами, нельзя выводить дымовой газопровод в шахту, полностью заблокировав вентиляционную решетку. В противном случае вентиляция в газовой котельной или кухне не будет работать при выключенном вытяжном вентиляторе.
Все секреты связи с капюшоном на видео:
Приток воздуха
Приток свежего воздуха, необходимого для нормальной работы газовых приборов и благополучия людей, обеспечивается воздухозаборными устройствами.
На рынке имеются следующие типы вентиляционных отверстий для вентиляции газовой печи в частном доме или квартире:
- оконный впускной клапан. Клапан устанавливается в пластиковую оконную створку и работает автоматически или в ручном режиме. Во время особо сильных морозов он склонен к обледенению;
- настенный впускной клапан. Требуется отверстие во внешней стене для установки. Есть модели с фильтрацией воздуха, могут быть автоматическими;
- вентилятор. Навешивается на нижнюю створку пластиковой двери, питающейся от электросети. Не только фильтрует поступающий воздух, но и нагревает его.
В соответствии с нашими рекомендациями Вы можете самостоятельно установить любую из перечисленных воздухозаборных вентиляционных установок для кухонь с газовой плитой или котлом.
Как подобрать материал для вытяжки
Для решения таких задач применяется кирпич, нержавеющая, оцинкованная сталь или керамический материал. Проанализируем более детально каждую из них.
Коаксиальная вентиляция
Эта вытяжка газового котла в частном доме состоит из короткой внешней и длинной внутренней трубы. Помимо этого к ней относятся всякие принадлежности: хомуты, колена, прокладки, а также – приемник для конденсата. Еще такую конструкцию называют «труба в трубе» и используется она в газовых отопительных приборах с закрытой камерой горения.

Устройство и принцип работы одинаковый для всех котлов такого типа:
- Труба, расположенная внутри, подсоединятся с одной стороны к патрубку котла, а ее другая сторона выводится на улицу и по ней выходят продукты сгорания. Она сделана из нержавейки и выдерживает перепады высоких температур.
- Труба, расположенная снаружи, присоединяется одним концом к входному отверстию, а другой конец выводится за пределы помещения. В этом канале происходит поступление свежего воздуха.
- Во время эксплуатации агрегата, выработанные продукты горения за счет тяги по внутреннему каналу отводятся наружу, и в то же время к камере сгорания поступает свежий воздух по внешнему каналу.
Данное коаксиальное устройство обладает следующими достоинствами:
- Дымоход безопасен. Это возможно потому, что выходящие горячие продукты горения тут же охлаждаются холодным воздухом, поступающим извне.
- Повышенная производительность. Свежий воздух при подаче нагревается и увеличивает КПД агрегата.
- Экологичность системы.
- Установка на кухне. Такой настенный отопительный прибор не портит общий интерьер в помещении.
Еще одной особенностью монтажа таких котлов с коаксиальной циркуляцией воздуха является то, что в доме для частного проживания монтировать дымоход можно как вертикально, так и горизонтально.
Кирпичная кладка
Сейчас кирпич все реже применяется для вентиляционных колодцев.
Это вызвано двумя основными причинами:
Во-первых, его недолговечностью, через 7-10 лет кирпич начинает крошиться, и кладка теряет герметичность, а значит, она теряет свое предназначение. Разрушается он из-за того, что в канале температура меняется и в результате образуется конденсат, который зимой замерзает. Более приемлемо делать дымоходы из этого материала, когда стенки постоянно испытывают контакт с горячими отходами.
Во-вторых, кирпичная кладка – это трудоемкий процесс, у такого вентиляционного канала непростое устройство и неоправданные расходы.
В связи с этим, более удачным вариантом будет являться кирпичная шахта с заложенной внутри оцинкованной трубой для вентиляции. Собирается она по частям из 2-х метровых контуров, а толщина стенок подбирается с учетом температуры отводящих газов.

Стальная вытяжка
Отработанный газ при работе газового котла имеет температуру около 430 градусов, а при эксплуатации твердотопливных котлов еще больше. Поэтому трубы для вытяжки газового котла в частном доме изготавливаются из нержавеющей стали с толщиной стенок 0,7-1 мм. Данные изделия вполне стабильны к действию конденсата на поверхности стенок.
Надо отметить, что период эксплуатации этих вентиляционных труб ощутимо меньше, чем кирпичных и керамических. В то же время стандартные стальные вытяжки проще при замене, так как они легче и не нуждаются в специализированных основаниях для придания прочности.
Такие каналы изготавливаются в разных вариантах:
- Размещение в специально выложенном колодце из кирпича;
- Из заводских контуров. При этом всякий контур представляет собой сэндвич-трубу с двумя стенками. Здесь одна труба расположена в другой, а зазор заполнен теплоизолирующим материалом.
Использование таких вытяжек упрощает установку, при этом они монтируются как внутри помещения, так и снаружи.
Роль вентиляции в помещении с газовым котлом
Сгорание топлива в газовом котле происходит при активном участии кислорода воздуха. Поэтому его содержание в котельной быстро снижается, сгорание газа становится неполным, из-за чего на стенках дымохода более активно оседает сажа, а в помещении становится душно. Самочувствие человека в таких условиях может резко ухудшиться вплоть до потери сознания.
Положение может осложниться, если образуются утечки газа из внутреннего газопровода в доме. Ситуация становится взрывоопасной с возможными тяжелыми последствиями.
Чтобы этого не случилось, в каждом помещении с газовыми приборами должна быть устроена вентиляционная система. Она позволяет в непрерывном режиме освежать помещение за счет подачи свежего воздуха из внешнего пространства и удаления загрязненного.
Свежий воздух в котельную поступает через вентиляционные отверстия в стенах
Как сделать вентиляцию для газовой колонки
Для устройства вентиляции в помещении, где установлена газовая колонка, нужно обязательно предусмотреть дымоход. Обычно он выполнен из гофрированной металлической трубы. Наиболее выгодный и эффективный вариант — коаксиальный дымоход. Он прослужит долгий срок, и его монтаж не составляет труда. Требования к параметрам помещения, где устанавливают коаксиальную дымоходную трубу, минимальны. Все необходимые расчёты, связанные с установкой такого дымохода, зависят от мощностных характеристик газового прибора. Устройство вытяжки на кухне для газового котла очень ответственное мероприятие, от которого зависит безопасность жильцов.
Комплект дымохода для газовой колонки включает следующие элементы:
- колпак, защищающий конструкцию;
- проходной патрубок, которым отделяют трубу от стены;
- крепёжные элементы;
- переходники от трубопровода к колонке;
- смотровое окно для проверки состояния дымоходной системы;
- ёмкость для сбора конденсата.
Диаметр дымохода должен быть одинаковым по всей магистрали. Его размеры указывают в инструкциях производители газовых колонок.

В длину такие дымоходы обычно 400 см и более. В регионе с морозными зимами дымоходы утепляют. Когда устанавливают вентиляцию в частном домовладении, верхний конец трубы выводят на 100 см выше кровли.
Монтаж дымохода выполняют согласно нормативам СНиП:
- у газовой колонки должен быть отдельный дымоход;
- труба для отвода дыма должна быть смонтирована герметично для исключения протечек угарного газа;
- материал, из которого сделана труба, должен быть устойчив к влаге и перепаду температур;
- дымоходная труба не должна провисать, крепёж должен быть жёстким;
- когда выполняют монтаж, главная цель — добиться равномерной тяги, поэтому трубы должны быть гладкими (трубы с квадратным сечением лучше не применять).
- для хорошей тяги дымоход ставят вертикальным способом;
- конденсат и сор собираются в специальном люке, который устраивают в нижней части дымохода.

Этапы монтажа дымохода:
- В стену монтируют проходной патрубок. С наружной части стены к патрубку прикрепляют колено в 90 градусов.
- Внутри помещения прикрепляют отвод от колонки.
- Снаружи устанавливают дымоходную трубу, соединяя патрубки хомутами.
- По всей высоте стены равномерно распределяют крепёжные элементы.
- После того, как будет завершен процесс крепления трубы к стене, следует убедиться, что дымоход нигде не провисает. Обычно для крепежа хватает шага в 200 см.
- На верхнюю часть трубы одевают укрывной зонт.
- В нижней части трубы следует оборудовать сборник для конденсата.
- Проверяют тягу. Если пламя от спички клонится в сторону трубы, всё сделано правильно.
При выборе дымохода учитывайте мощность котла
При выборе дымоходной системы обязательно необходимо учитывать мощность газ котла. Чем выше мощность, тем выше будет температура сгорания топлива. Это обязательно отражается на выходящих газах. Значение мощности помогает правильно выбрать диаметр и длину трубы. К примеру, для котла мощностью 300 кВт необходима труба диаметром 150 мм.
Обычно в инструкции по применению указаны не только технические характеристики отопительного оборудования, но и имеются рекомендации по выбору и установке дымоходной системе. При необходимости обратитесь за помощью к специалисту, если сами не можете правильно рассчитать оптимальные параметры дымоходной трубы.
Требования к газовой котельной в доме из дерева
Основные правила установки настенного газового котла в деревянном доме, затрагивают три важных области:
- Нормы, оговаривающие минимальные требования к котельной.
Правила подключения системы дымоудаления и вентиляции.
Существующие правила пожарной безопасности.
Допустимые нормы обустройства газовой котельной внутри деревянного здания, оговаривают типы и виды внутренней отделки, систему безопасности, наличие пожарной сигнализации и средств пожаротушения.
Для установки котла в деревянном доме, нужно строгое соблюдение существующих требований. Газовая котельная является местом повышенной пожарной опасности, что потребуется учитывать при обустройстве.
Нормы помещения котельной
Требования к установке напольного газового котла отопления в деревянном доме, учитывают особенности эксплуатации и повышенную пожарную опасность, связанную с конструкционным материалом здания. В связи с этим, нормы указывают на необходимость соблюдения следующих требований:
Объем помещения котельной рассчитывается, исходя из общей производительности отопительного оборудования. Газовый котел до 30 кВт, устанавливают в изолированном помещении не менее 9 м³. При условии, что высота потолков будет не менее 2,5 м.
Разрешается расположение газового котла в любом техническом помещении деревянного дома. Санитарные нормы запрещают устанавливать отопительное оборудование в жилых комнатах, а также кухнях-гостиных. Некоторые ограничения затрагивают месторасположение котла в доме.Нормы ППБ запрещают оборудовать помещение котельной в подвале, но допускают, с несколькими оговорками, установку газового котла в цокольном этаже.
Котельная огораживается от жилых комнат стеной. Для увеличения огнестойкости, стены покрывают специальными пропитками. В котельной устанавливают дверное полотно с минимальной шириной 80 см, не прилегающее внизу к коробу, для постоянного притока свежего воздуха.
Обязательно наличие естественного освещения, а также форточки для проветривания.
Если согласовать проект будущего дома с представителями газового хозяйства еще на этапе изготовления рабочих схем, можно избежать ненужных материальных затрат на переделку здания.
Организация вентиляции и дымоудаления
В деревянном доме, особое внимание уделяют установке приточно-вытяжной вентиляции и правильному подключению системы дымоотведения. Минимальные требования, распространяющиеся на котельную:. Устройство вытяжки – диаметр вентиляционного канала, рассчитывается исходя из производительности котла – 8 см² на каждый киловатт мощности
Устройство вытяжки – диаметр вентиляционного канала, рассчитывается исходя из производительности котла – 8 см² на каждый киловатт мощности.
Установка трубы дымоотведения осуществляется с соблюдением противопожарных расстояний и разрывов. Высота дымохода, рассчитывается, в зависимости удаленности от козырька кровли. Оголовок трубы нельзя закрывать декоративными элементами. Для увеличения характеристик тяги, рекомендуется установить дефлектор.
Не допускается, чтобы горизонтальный участок дымохода, имел суммарную длину более 3 метров. На всю систему дымоотведения, разрешается установить не более 2 поворотных муфт.
Некоторые требования к дымоходам и приточной вентиляции, оговариваются в правилах пожарной безопасности.
Пожарные нормы для котла на газе в доме из дерева
Пожарные правила затрагивают: размещение котла, обустройство котельной и монтаж системы дымоотведения:
Размещение котла – оптимально использование под нужды котельной, отдельно стоящего здания, изготовленного из негорючих материалов: керамического или силикатного кирпича, пеноблоков, газобетона и т.п. Допускается установка котельной в доме, при условии, соблюдения условий ППБ.
Пол и стены котельной облицовывают негорючими материалами. Если такой возможности нет, требования по пожаробезопасности, оговаривают необходимость частичной защиты поверхностей в месте расположения котла и проведения дымохода.Стены и пол защищают негорючими базальтовыми утеплителями. Дополнительную защиту, обеспечивают специальные противопожарные составы. Потребуется предварительная подготовка стен, потолка, полов, посредством обработки мастиками или пропитками, с высокой степенью огнестойкости.
При прохождении дымохода через плиты перекрытия и кровлю, используют специальную противопожарную разделку.
Огнестойкие материалы для стен, которыми рекомендуется облицевать поверхность – это штукатурные гипсовые растворы, ГВЛ плиты и др.
Устройство вентиляции газовой котельной в частном доме
Естественная вентиляция
Данный вид вентиляции не предусматривает использование вентиляторов. Вытяжная тяга формируется дымовой трубой, которую стараются установить максимально высоко над крышей.

Естественная вентиляция наиболее подходит при условии, что:
- отапливаемое здание находится на возвышенности;
- по периметру строения отсутствуют более высокие здания или высоких деревьев;
- теплопроизводительность оборудования невысокая и здание котельной небольшое, то есть нет необходимости в большом количестве воздуха.
- Приточный канал размещается напротив вытяжного. Конструктивно это может быть стеновой клапан на улицу, оконное проветривание, дверное проветривание через щели или решетку в створке. В зависимости от расположения котла выбирается подходящий вариант.
- Воздух удаляется через втяжную трубу. Выход трубы размещается на потолке здания котельной, а сама труба должна быть выше конька крыши для полноценного обдува ветром и хорошей тяги. Иногда вентиляционные каналы в частных жилищах размещают в стене. Для этого нужно выход трубы размещать максимально высоко.
Принудительная
Эта разновидность вентиляции осуществляется с помощью вентиляторов. Если дом небольшой, то допускается использовать только вытяжной вентилятор, а приток может быть и естественным.
Использование принудительной вентиляционной системы необходимо в следующих случаях:
- отсутствует возможность подведения вытяжного воздуховода;
- недостаточная работа естественной вентиляции или неудачное расположение дома (стоит в низкой местности, окружают многоэтажные дома или деревья);
- использование оборудования с высокой теплопроизводительностью, где естественная вентиляция не обеспечит правильной работы.
Итак, приточный воздух может поступать естественным путём, а вытяжная вентиляция должна быть обязательно механической.
Расположение её может быть следующим:
- Труба подключается к вентилятору, и воздух удаляется наружу через крышу или стену.
- Воздуховод подключается в вентиляционную шахту при её наличии.
Вытяжной вентилятор в разгар сезона рекомендуется использовать в постоянном режиме.
Особенности проведения ремонтных работ по восстановлению дымохода
Если требуется ремонт газ котла, а точнее его дымоходной системы, наиболее эффективным решением будет применение технологии ФуранФлекс. При монтаже полимерного чулка не нужно производить демонтажные работы. Труба ФуранФлекс заводится изнутри в дымоход, а после затвердения служит опорой и защитой. Она предупреждает дальнейшее разрушение, при этом сам материал обладает отменными эксплуатационными характеристиками. Главное, правильно подобрать разновидность материала, но в решении этого вопроса на помощь всегда готовы прийти наши сотрудники. Они проконсультируют вас по всем возникшим вопросам.
Необходимые расчеты
Точный и грамотный расчет вентиляции — важный этап проектирования системы отопления. Профессиональные инженерные вычисления учитывают размеры топочного помещения, технические характеристики и место монтажа оборудования. Проектирование котельной частного дома проще. Требуется определить следующие параметры:
- Геометрические размеры помещения (длина, ширина, высота).
- Скорость воздушного потока. Она не должна быть меньше 1 м/с.
- Коэффициент усиления воздухообмена, обусловленный разницей между допустимой высотой помещения (6 м) и ее реальным значением.
Определив их, можно рассчитать оптимальный диаметр приточных и вытяжных каналов системы вентиляции. Для помещения с габаритами 4×3×2,8 м (длина, ширина, высота) расчеты выглядят так.
- Перемножением параметров помещения вычисляется его объем. Он равен 33,6 м3.
- Определяется коэффициент увеличения воздухообмена котельной: (6 — 2,8) * 0,25 + 3 = 3,8.
- Находится объем воздуха, который надо заместить в течение часа: V = 3,8 × 33,6 = 128 м³.
- Площадь сечения канала, который должна иметь вентиляция вытяжная в котельной коттеджа, рассчитывается по формуле: F = 128/3600 = 0,035 м2.
- Полученное значение площади переводится в диаметр, так как на практике чаще используют вентиляционные трубы круглого сечения: D = 2 sqrt (S / π) = 211 мм.
Установка своими руками
Грамотное устройство вентиляционной системы котельной включает в себя три обязательных этапа: подготовку технического проекта, монтаж оборудования и проверку работоспособности. При планировании учитывается производительность вентиляционной установки, длина воздушных каналов и тепловая мощность котла. Монтируя воздуховоды, надо помнить, что их расположение зависит от используемого типа воздухообмена. Горизонтальные трубы следует устанавливать только в системах с принудительным. При этом их длина связана с мощностью установленного оборудования. В любом случае каналы должны быть прямыми, без изгибов и поворотов. Естественные системы разрешается оснащать лишь вертикальными воздушными видами, длина которых не может быть меньше 3 м.
Окончив монтаж системы вентиляции и отопления частного дома, надо проверить работоспособность всех ее функциональных элементов. Требуется убедиться в отсутствии протечек теплоносителя, обратной тяги и тепловых потерь, измерить КПД котла и концентрацию угарного газа в топочной. Для обеспечения достоверности замеров их надо проводить лишь спустя 24 часа после запуска отопления и воздухообмена. С целью повышения безопасности работы котельной и эффективного удаления из нее продуктов сгорания, полезно дополнительно использовать пожарную вентиляцию и специальную систему борьбы с задымленностью.
Цены
При устройстве вентиляции под ключ, стоимость квалифицированного составления проектной документации котельной и проведения монтажных работ зависит от размеров дома, типа и характеристик используемого отопительного оборудования, вида воздухообмена, автоматики и так далее. Реализация первой услуги в среднем составляет 55 рублей за 1 м2, а непосредственно установка в здании, площадью 100-800 м2, обойдется в 25 000 — 33 000.
Основные технические характеристики и цены наиболее популярных приточных установок:
| Название модели | Макс. расход воздуха, м³/ч | Мощность нагревателя, кВт | Размеры, мм | Цена, рубли |
| ГлобалВент Эконом-300 | 400 | 2,7 | 220x640x435 | 35 300 |
| 2vv Alfa-C-20VS-DP-2 | 2000 | 32,8 | 618х468х1200 | 172 300 |
| A-Clima ARL BOX 2,5 | 1970 | 34 | 1500х800×370 | 106 200 |
| ГлобалВент Эконом-1500 | 1900 | 11,1 | 390x770x635 | 63 900 |
| A-Clima Arl Box 1,5 | 1635 | 28 | 1270x670x370 | 103 900 |
| DVS OTA 160/5000 | 376 | 5 | 490x1000x490 | 42 500 |
Что еще учесть при обустройстве вентсистемы?
Существуют и другие требования к вентиляции. Они не менее важны, чем описанные выше. Вентсистему делаем полностью герметичной. Даже небольшая утечка копоти либо газа может стать причиной взрыва оборудования или ухудшения здоровья домочадцев. Герметичность воздуховодов обеспечиваем термоизоляцией. На все имеющиеся стыки наносим слой герметика, используя составы с повышенной стойкостью к открытому огню и повышенным температурам.

Расчет вентсистемы для бытовой котельной произвести сравнительно просто. Придерживаемся основного правила. Оно гласит: отток должен равняться показателю трехкратного воздухообмена, а величина притока определяется как сумма объема выделяемого при горении воздуха и определенной ранее величины оттока (немного подробнее об этом мы расскажем в следующем разделе). Если вы не дружите с математикой, доверьте расчет вентиляции специалистам. Им, кстати, можно заказать и составление точного проекта системы проветривания котельной. Руководствуясь им несложно обустроить своими руками любую по сложности вентиляцию.
При расчете системы особое внимание уделяем определению характеристик дымохода вентсистемы. Его диаметр зависит от мощности отопительного агрегата
В большинстве случаев сечение дымохода берут таким:
- 17 см – при мощности 40 кВт;
- 13 – 30 кВт;
- 12 – 24 кВт;
- 19 – 55 кВт;
- 22–23 см – 80–100 кВт.
Высота трубы дымохода берется такой, чтобы ее конец выступал на 3–5 м над кровельным коньком
Обратите внимание! При установке дымохода допускается делать максимум три изгиба либо поворота на всем его протяжении. Оптимальный материал для изготовления этой конструкции – нержавейка или оцинкованная сталь






























