Необходимые расчеты
Точный и грамотный расчет вентиляции — важный этап проектирования системы отопления. Профессиональные инженерные вычисления учитывают размеры топочного помещения, технические характеристики и место монтажа оборудования. Проектирование котельной частного дома проще. Требуется определить следующие параметры:
- Геометрические размеры помещения (длина, ширина, высота).
- Скорость воздушного потока. Она не должна быть меньше 1 м/с.
- Коэффициент усиления воздухообмена, обусловленный разницей между допустимой высотой помещения (6 м) и ее реальным значением.

Определив их, можно рассчитать оптимальный диаметр приточных и вытяжных каналов системы вентиляции. Для помещения с габаритами 4×3×2,8 м (длина, ширина, высота) расчеты выглядят так.
- Перемножением параметров помещения вычисляется его объем. Он равен 33,6 м3.
- Определяется коэффициент увеличения воздухообмена котельной: (6 — 2,8) * 0,25 + 3 = 3,8.
- Находится объем воздуха, который надо заместить в течение часа: V = 3,8 × 33,6 = 128 м³.
- Площадь сечения канала, который должна иметь вентиляция вытяжная в котельной коттеджа, рассчитывается по формуле: F = 128/3600 = 0,035 м2.
- Полученное значение площади переводится в диаметр, так как на практике чаще используют вентиляционные трубы круглого сечения: D = 2 sqrt (S / π) = 211 мм.
Установка своими руками
Грамотное устройство вентиляционной системы котельной включает в себя три обязательных этапа: подготовку технического проекта, монтаж оборудования и проверку работоспособности. При планировании учитывается производительность вентиляционной установки, длина воздушных каналов и тепловая мощность котла. Монтируя воздуховоды, надо помнить, что их расположение зависит от используемого типа воздухообмена. Горизонтальные трубы следует устанавливать только в системах с принудительным. При этом их длина связана с мощностью установленного оборудования. В любом случае каналы должны быть прямыми, без изгибов и поворотов. Естественные системы разрешается оснащать лишь вертикальными воздушными видами, длина которых не может быть меньше 3 м.
Окончив монтаж системы вентиляции и отопления частного дома, надо проверить работоспособность всех ее функциональных элементов. Требуется убедиться в отсутствии протечек теплоносителя, обратной тяги и тепловых потерь, измерить КПД котла и концентрацию угарного газа в топочной. Для обеспечения достоверности замеров их надо проводить лишь спустя 24 часа после запуска отопления и воздухообмена. С целью повышения безопасности работы котельной и эффективного удаления из нее продуктов сгорания, полезно дополнительно использовать пожарную вентиляцию и специальную систему борьбы с задымленностью.

Цены
При устройстве вентиляции под ключ, стоимость квалифицированного составления проектной документации котельной и проведения монтажных работ зависит от размеров дома, типа и характеристик используемого отопительного оборудования, вида воздухообмена, автоматики и так далее. Реализация первой услуги в среднем составляет 55 рублей за 1 м2, а непосредственно установка в здании, площадью 100-800 м2, обойдется в 25 000 — 33 000.
Основные технические характеристики и цены наиболее популярных приточных установок:
| Название модели | Макс. расход воздуха, м³/ч | Мощность нагревателя, кВт | Размеры, мм | Цена, рубли |
| ГлобалВент Эконом-300 | 400 | 2,7 | 220x640x435 | 35 300 |
| 2vv Alfa-C-20VS-DP-2 | 2000 | 32,8 | 618х468х1200 | 172 300 |
| A-Clima ARL BOX 2,5 | 1970 | 34 | 1500х800×370 | 106 200 |
| ГлобалВент Эконом-1500 | 1900 | 11,1 | 390x770x635 | 63 900 |
| A-Clima Arl Box 1,5 | 1635 | 28 | 1270x670x370 | 103 900 |
| DVS OTA 160/5000 | 376 | 5 | 490x1000x490 | 42 500 |
Требования к помещению для установки газового котла в частном доме
В соответствии с нормативами СНиП 42-01 и МДС 41.2-2000, помещение, в котором устанавливается газовый котел, должно соответствовать таким минимальным параметрам:
- площадь помещения – более 4 квадратных метров;
- высота потолка – не менее 2,5 м;
- объем помещения – не менее 15 м3 (при размещении на кухне существуют отличия, описанные ниже);
- наличие двери с шириной дверного проема не менее 800 мм, согласно пожарной безопасности дверь должна открываться наружу;
- наличие под дверью зазора не менее 20 мм;
- наличие естественного освещения (через окно) из расчета 0,03 м2 площади остекления на каждый 1 м3 объема помещения (например, для комнаты объемом 15 м3 площадь остекления – 0,03*15 = 0,45 м2);
- наличие в котельной вентиляции из расчета – вытяжка в объеме 3-х кратного воздухообмена в час, приток воздуха – объем вытяжки + воздух необходимый для сгорания газа (если котел с открытой камерой сгорания. При наличии закрытой камеры сгорания воздух для горения забирается не с помещения, а через коаксиальный дымоход);
- стены, ограждающие помещение от соседних, должны иметь предел огнестойкости не менее 0,75 ч (REI 45) или быть покрыты конструкцией с таким же пределом огнестойкости, предел распространения огня должен быть равен нулю (негорючие материалы);
- пол в помещении – горизонтально ровный, из негорючего материала.
Актуальные нормы для установки котла на кухне
Согласно МДС 41.2-2000 на кухне разрешается устанавливать котлы мощностью до 60 кВт. Работники газовой службы часто могут ссылаться на другие нормативы, где указана максимальная допустимая мощность 35 кВт, поэтому перед установкой котла мощностью 35÷60 кВт проконсультируйтесь с местной газовой службой. Учитывается только мощность отопительного оборудования, другие газовые приборы в расчет не берутся. В остальном, помимо вышеперечисленных требований к отдельному помещению, при размещении на кухне существуют некоторые отличия:
- минимальный объем помещения – не менее 15 м3 + 0,2 м3 на каждый 1 кВт мощности котлоагрегата (например, при установки котла мощностью 24 кВт объем помещения равен 15+0,2*24 = 19,8 м3);
- окно должно быть открываемым или оснащаться форточкой;
- наличие необходимого для притока воздуха зазора в нижней части двери сечением не менее 0,025 м2 (Сечение = Ширина*Высоту).
Правильная организация пристройки под котельную
Если выделить отдельное помещение под котельную невозможно, а устанавливать котел на кухне не хочется, котельную просто пристраивают к внешней стене дома. Также пристройки актуальны в деревянных домах, когда после обеспечения стен огнеупорной конструкцией, размеры комнаты не будут соответствовать минимальным нормам. К пристройке применяются те же требования, что и для стандартных помещений под котельную, но с некоторыми дополнениями:
-
- пристройка должна быть официально оформлена, без регистрации газовая служба попросту не допустит подключения;
- пристраивается котельная к глухой стене, на расстоянии не менее 1 метра до ближайших окон и дверей;
- стены пристройки не должны быть связаны со стеной дома;
- стены пристройки и стена самого дома должны соответствовать пределу огнестойкости не менее 0,75 ч (REI 45).
Газовые котлы отопления: самая подробная инструкция по выборуЧек-лист по критериям выбора, рейтинг моделей в 2021 году
Автоматизация вентиляции котельной
Вентиляция котельной может быть автоматизирована для повышения безопасности людей, находящихся в котельной.
За это:
- Выберите вентилятор с дистанционным или настенным регулированием скорости, запасом мощности (чем больше запас, тем лучше) и несколькими скоростями. Дистанционное управление должно быть установлено на входе в котельную. Если в помещении увеличивается концентрация окиси углерода или природного газа, то максимальная скорость извлечения может быть активирована дистанционно. Вентиляторы с дистанционным управлением стоят в среднем на 10-20% дороже, чем “обычные”.
- В котельной установить газоанализатор – устройство, которое измеряет концентрацию газа и выдает сигнал о его превышении. Средняя стоимость простой домашней модели составляет 3000-6000 рублей.
- Выберите котлы с функциями безопасности: датчик контроля пламени и датчик всасывания. Они автоматически отключают котел, если горелки гаснут или если тяга в дымовой трубе слишком низкая. В средней и высокой ценовой категории эти датчики устанавливаются практически во всех моделях.
Для безопасности лучше следовать всем правилам.
Стандартные требования к циркуляции воздуха в котельной
Котельная может быть устроена с использование помещений, выделенных в виде:
- специальной технической пристройки;
- чердачного помещения;
- индивидуального помещение, отделенного от основной постройки;
- в отдельно отведенной комнате коттеджа.
В принципе газовые котлы, могут работать на сжиженном газе, значит, цокольный пол не подойдет. В подвале также размещать нельзя. Такой вид топлива имеет тяжелый удельный вес по сравнению с воздухом. При его утечке газ опускается в нижние части помещения, где может взорваться. Этот факт стоит учесть при проектировании вентиляции.
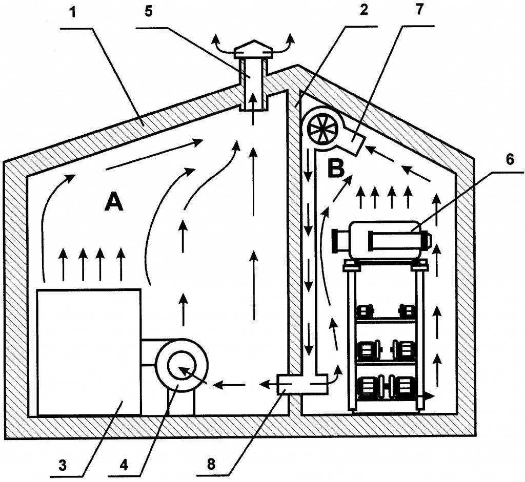
Простая схема вентиляции — правильное направление воздуха
Отопительное оборудование до 30 киловатт считаются маломощным, поэтому для его установки не требуется индивидуальное помещение. Чаще всего котел монтируют на кухне, но соблюдая такие требования:
- квадратура кухни 15 м2;
- высота потолков 220 см и более;
- размеры оконных проемов от 3 см2 на 1 кубометр объема помещения;
- в окне должна быть форточка;
- двери на кухне оборудуются специальной решеткой, сквозь которую будет циркулировать воздух с соседних комнат;
- котел монтируется у стены со всеми правилами противопожарной безопасности, минимальное расстояние от стены 10 см.
Требования к вентиляции газовой котельной в частном доме и нормы согласно СНиП
При несоблюдении норм и правил газовые службы применяют санкции, вплоть до отключения газа. В частном доме устанавливается обособленная система вентиляция:
- Вытяжка за час способна трижды сменить воздух;
- Приток поступает суммарно в таком же количестве, как в вытяжку вместе с учетом потребности горения газа.
В верхней части потолка должно находиться вытяжное устройство. Обычно – это вытяжная труба. Диаметр трубы обозначают газовщики при создании проекта-схемы на строительство. По всем требованиям диаметр составляет 1,3 метра. Труба создает условия для нормального входа и выхода воздуха.
Например, объем помещения в котельной составляет 15м3. За час эти пятнадцать кубов должны выйти три раза через вытяжку. То есть, 45м3 за час должно естественным образом уйти наружу через вытяжную трубу.
Предусмотрены требования к приточному воздуху. Войти должно 45м3 в помещение, плюс необходимое количество воздуха для горения газа. Любое котельное оборудование потребляет кислород для поддержания горения газа.
Один из нормативных документов, на который ориентируются газовые службы: СниП Газоснабжение 2.04.08-87*
Критерии и нормативы
Существуют свои нормы вентиляции для газового котла и помещения с ним. Имеет значение тип отсек сгорания аппарата – закрытый или открытый.
Котлы с закрытой камерой сгорания должны оснащаться коаксиальным каналом. По нему синхронно идут два процесса: в горелку проникает воздух с улицы, и устраняются результаты горения.

Вентиляция в помещении с газовым котлом монтируется с учётом таких критериев:
- Максимальное число единиц газовой техники для подключения к дымоходу – 2. При этом не имеет значения их удалённость и позиция.
- Продукты горения проникают в дымоходы на дистанции минимум 50 см на различные уровни. При подаче только с одного уровня в дымоотвод ставится рассечка, имеющая высоту от 50 см.
- Абсолютная герметичность все вентиляционной системы. Должна исключаться даже минимальная утечка горючего и копоти.
- Швы на участках соединений дымоотводов покрываются термостойким герметиком.
- Все элементы системы оснащаются термоизоляцией. Это ключевая мера против возгорания.
- Вентиляция оборудуется та, чтобы образовывался отток в трёхкратном воздухообмене, шла подача с одним оттоком, и добавлялся воздушный объём для горения.
Для аппаратов с открытой камерой сгорания основные критерии отражены в СниП 2.04. 05-91. Если их мощность не превосходит 30 кВт, их можно монтировать на кухне, только там должна отсутствовать плита.

А модели с закрытым отсеком в этих помещениях использовать позволяется.
Если мощность аппарата свыше 30 кВт, для него создаётся отдельная пристройка – котельная. К ней предъявляются следующие требования:
Наличие двух вариантов воздухообмена: принудительного и естественного. Площадь – минимум 15 кв.м. Наименьшая высота потолков – 2,4 м. По нормам это показатель 6 м. но если он меньше, применяется поправочное значение 0,25 на каждый метр вниз. На 1 куб.м окна по площади достигают 300 кв.см. Наличие отдельного входа. В пристройке можно устроить дверь, ведущую в жилой сектор. Участок монтажа оборудования покрывается негорючими материалами, например листами из металла или асбокартона. Если монтируется техника с открытой горелкой, минимальная длина дымоотвода составляет 4 м, количество поворотов в углах – не более 3
Это важно условие для образования тяги. Схематически вентиляцию в котельной отображают так:. Схематически вентиляцию в котельной отображают так:
Схематически вентиляцию в котельной отображают так:

Канала для воздушной циркуляции нужно создавать ещё на стадии строительства. Их минимальный диаметр – 20 см. После финальных расчётов можно монтировать вентиляторы и небольшие решётки с переходными гильзами.
Габариты для помещений с другими котлами
Кроме газового оборудования, существуют и другие приборы, работающие на электричестве, твердом или жидком виде топлива. Для бойлерных, обслуживающих разные типы оборудования, разработаны свои стандартные правила.


На жидком топливе
Котлы подобной категории используют для работы мазут, масло, дизельное топливо. Они издают сильный шум и специфический запах. Из-за этих факторов жидкотопливную котельную лучше разместить в отдельном строении, можно в гараже. Для удобства следует позаботиться о звукоизоляции, а металлические двери дополнить уплотнителем, он в какой-то степени поможет удерживать шум и запах.
Производя расчет параметров комнаты, учитывается 4,5 кв. м для установки котла и место для хранения топлива. В крайнем случае топливный бак можно определить вне помещения. В котельной нужна хорошая вентиляция, внизу стены предусматривается окно с возможностью проветривания. Жидкотопливные бойлерные оборудуют крайне редко из-за жестких требований пожарной безопасности.


На твердом топливе
К твердым видам топлива относятся дрова, всевозможные евродрова, пеллеты, топливные брикеты, уголь и торф. Весь этот ассортимент не взрывоопасен и стоит дешевле газа, но уступает ему в комфортности. К тому же такие котлы имеют низкий КПД, всего 75%. Требования по ГОСТу для твердотопливной бойлерной менее жесткие, чем для газового оборудования. Комната должна располагать размерами 8 кв. м и находиться в отдельном строении. Но иногда ее обустраивают в помещении ниже жилого уровня.
Проводка в комнате должна быть скрытой, лучше, если она проходит внутри огнеустойчивых труб, и иметь пониженное напряжение (42 В) для питания розеток. Для оборудования выключателей применяется максимальная герметичность.

Для твердотопливных котельных важна приточно-вытяжная вентиляция, поступление свежего воздуха дает возможность топливу лучше разгораться. Сечение вытяжки для цокольного этажа рассчитывается по схеме – 1 киловатт мощности котла на 8 кв. см. Для подвального помещения размеры сечения увеличиваются до 24 кв. см на кВт мощности. В нижней части стены устанавливают приточное окно.
Дымоход должен быть прямым, в крайнем случае иметь минимум колен. Хорошо, если сечение трубы совпадает с диаметром входного отверстия, но не сужается переходником. Вывод трубы наружу производится благодаря узлу из огнестойкого материала, установленного на выходе дымохода через крышу или стену. Топочные комнаты с твердым топливом необходимо оборудовать противопожарным щитом и огнетушителем.

На электричестве
Котлы, работающие на электричестве, наиболее безопасны и комфортны. Но прежде чем решиться на их установку, следует взвесить все «за» и «против», каждый из аргументов достаточно весом и может повлиять на выбор владельца. Начнем с положительных моментов.
- Обогревательный котел такого типа опасен не более любого бытового электроприбора, находящегося в доме.
- Для него не нужна специальная комната, для установки вполне подойдет кухня, санузел, прихожая.
- Нет необходимости оборудовать специальную вентиляционную систему.
- Котел не имеет опасных продуктов горения.
- Не издает шума и запаха.
- Его КПД приближается к 99%.

Основным минусом данного вида оборудования является полная зависимость от внешней подачи электроэнергии. Установка котлов в районах с частым перебоем электричества нецелесообразна. Для зданий с площадью около 300 кв. м понадобится котел мощностью 30 кВт. Отопительную систему необходимо оборудовать стабилизатором, предохранительными автоматами. Проводка в доме должна быть новой и усиленной.
Есть еще один существенный минус обогрева дома с помощью электроэнергии – это стоимость такого отопления, она самая высокая среди всех известных способов. Какой бы вид отопительной системы ни был выбран, необходимо соблюдать рекомендации по ее установке и эксплуатации.


Виды вентиляционных систем
Циркуляция воздуха в помещении может быть естественной или принудительной. Первая используется для котлов мощностью до 30 кВт, если производитель предусматривает такую модификацию системы.
Вторая схема устанавливается в котлах большей мощности, с обширными поверхностями нагрева, несколькими контурами циркуляции и длинными длинами дымовых газов. Такая система теплоснабжения обладает большим аэродинамическим сопротивлением в пути движения газо-воздушной смеси, которое придется преодолевать дымовым газам.
Поэтому их движение может быть обеспечено только с помощью вентилятора или вытяжного вентилятора.
Естественная
Наименее эффективная и в то же время более простая система устанавливается в одноэтажных домах небольшой площади с котлами малой мощности. Часто используется для организации воздухообмена в подвалах, чердаках, подсобных помещениях и гаражах.

Воздушная масса в топочном помещении поступает через вентиляционные отверстия, оконные проемы, вентиляционные решетки в дверных створках, а отток воздуха осуществляется через вентиляционные каналы, расположенные над стенами или в подвесных потолках с выходом над крышей.
Профессионально спроектированная система вентиляции превращает весь объем воздуха в топочном помещении в свежий воздух. Для этого воздухозаборник и воздуховыпускное отверстие располагаются друг напротив друга.
Например, расположить котельную установку непосредственно на входе и выходном патрубке над котлом. Воздушные массы движутся снизу, проходят через весь топочный цех и достигают карниза. Окно можно разместить на любой стене.
Принудительная
Турбонагреватели или котлы с принудительной циркуляцией устанавливаются только в соответствии с рекомендациями производителя оборудования. Они изготавливаются с закрытой камерой сгорания, а воздух подается центробежными вентиляторами.
Для повышения эффективности работы котельного оборудования и его ремонта современные котлы устанавливают комбинированную систему подачи воздуха с использованием воздушных фильтров, подогревателя воздуха, для предварительного подогрева воздуха и вентиляторов.
В случае газовых котлов большей мощности устанавливается дополнительный вентилятор дымовых газов, который создает отрицательное давление в топке, таким образом заставляя дымовые газы протекать через дымовые трубы.

Инновационные бытовые котлы с закрытой камерой сгорания, работающие на газовом топливе, оснащены автоматикой с контролем погоды и системой безопасности.
Он настраивает режим работы в соответствии с температурой наружного воздуха и таким образом регулирует подачу газа. Эта функция должна быть отрегулирована в соответствии с количеством подаваемого в котел воздуха, чтобы обеспечить полное сгорание газа.
Для координации тепловых и аэродинамических процессов используются первичные датчики температуры нагрева воды и давления тяги в топочном пространстве.
Обязательно ли нужна вентиляция котельной в частном доме, и почему?
Да, в котельных частных домов обязательно нужно организовать вентиляцию, которая соответствует стандартам СНиП.
В этом помещении вентсистема будет выполнять такие функции:
- Обеспечивать приток кислорода для нормального горения. Если кислорода не хватает — любое топливо будет сгорать не полностью. Как результат — выделяется меньше тепла, тратится больше топлива для поддержания нужной температуры в жилых помещениях, ускоряется износ котла, внутри дымохода накапливается гарь.
- Удалять угарный газ. Не все продукты сгорания могут удаляться через дымоход — в небольшом количестве они могут проникать в помещение. Если вентиляция не обеспечивает достаточный воздухообмен — концентрация угарного газа может повышаться до критических показателей, и проникать в другие комнаты.
- Удалять газ при возможном пропуске. Со временем газовая линия до котла может утратить герметичность, и газ может накапливаться в помещении. Если этого не заметить — возможен взрыв или отравление.
То есть правильно обустроенная вентиляция топочной дает такой эффект:
уменьшается вероятность пожара или взрыва;
уменьшается вероятность отравления природным или угарным газом;
котел работает с полной отдачей, без превышения нагрузок (а значит может прослужить дольше без ремонта);
температура в доме поддерживается без избыточной нагрузки на котел и без превышения расхода топлива.
Главные правила и требования к вентиляции котельной согласно СНиП (+видео)
Нужна ли вентсистема — выяснили. Теперь про главные правила и требования ее обустройства.

Упрощенная схема вентиляции котельной
Котельная может обустраиваться в таких помещениях:
- Отдельно стоящее строение или блочный модуль.
- Пристройка.
- Помещение внутри дома.
- Кухня (допустимо, если мощность котла не превышает 30 кВт).
- Чердак.
При строительстве частных домов топочные обычно обустраивают в отдельной комнате на первом этаже, по соседству с гаражом или другим помещением.
Требования и нормы обустройства котельных в частных домах регламентированы в СНиП 42-02-2002.
Из основных требований:
- Требования к помещению, если котел ставится в отдельной комнате: объем — от 7.5 м³, площадь — от 6 м², высота потолков — от 2.5 м.
- Котлы мощностью 30+ кВт — должны устанавливаться только в отдельном помещении. Котлы с меньшей мощностью — можно ставить на кухне.
- При установке котла на кухне ее площадь должна быть более 15 м²
- Помещение котельной должно иметь отдельную дверь на улицу.
- Площадь сечения отверстий для притока: с улицы — от 8 см² на каждый 1 кВт мощности котла, из соседнего помещения (к примеру — из кухни, через стену) — от 30 см² на каждый 1 кВт мощности.










Расчет воздухообмена с формулой и примером (+видео с более подробными объяснениями)
Выбирать сечения вентиляционных каналов и мощность вытяжного вентилятора нужно исходя из нужного воздухообмена.
Чтобы рассчитать нужное количество воздуха, нужно знать:
Кратность воздухообмена. Согласно СНиП — для котельных составляет 3 (то есть за 1 час в помещении котельной воздух должен полностью обновиться 3 раза). Объем помещения. Для измерения нужно высоту умножить на ширину и умножить на длину (все величины берутся в метрах). Сколько воздуха нужно котлу для горения
Для газовых котлов (не важно — с открытой или закрытой камерой сгорания) в частных домах большая точность не обязательна, поэтому можно брать для расчетов 10 «кубов» воздуха на 1 «куб» газа. Для дизтоплива — 12
Приведем пример — выполним расчет вентсистемы для котельной в отдельном помещении, пристроенном к дому:
- Вычисляем объем помещения. Для примера возьмем размеры 2.5 х 3.5 х 2.5 = 21.875 м³. Для более точного расчета можно отнять от «общего» объема объем (размер) самого котла.
- Смотрим в характеристиках своего котла, сколько газа максимум он сможет сжечь за 1 час. К примеру, у нас модель Viessmann Vitodens 100 (35 кВт), с максимальным расходом 3.5 «кубов». Значит, для нормального горения при максимальной нагрузке котлу нужно 3.5 х 10 = 35 м³/ч воздуха. На эту характеристику не распространяется норма про трехкратность, поэтому ее просто добавляем к результату.
Теперь выполняем расчет, используя все показатели:
21.875 х 3 (трехкратный воздухообмен) + 35 = 100 м³/ч
На всякий случай нужно сделать запас — в среднем до +20-30% от получившейся величины:
100 + 30% = 130 м³/ч (с округлением в большую сторону) должна подавать и удалять вентиляционная система в котельной при максимальной нагрузке на котел. Для примера мы взяли максимальный запас (30%), по факту можно ограничиться и 15-20%.
https://youtube.com/watch?v=AOVxIjrselE
Материалы воздуховодов в газовых котельных
Правильно подобранный материал для воздуховода обеспечивает более длительную эксплуатацию вентиляции.
В соответствие с действующими стандартами в качестве материала для организации вентилирования помещений с газовым оборудованием может использоваться:
- кирпич;
- керамика;
- асбест;
- оцинкованная и нержавеющая сталь.
Применять пластик для воздуховодов нежелательно, т.к. это снижает огнестойкость конструкций. В некоторых нормативных актах (к примеру, пункт 7.11 СНиП 41-01-2003) указывает на то, что воздуховоды могут быть частично сделаны из горючих материалов.
При использовании пластиковых элементов нужно помнить, что наличие горючих элементов в конструкции затруднит ввод в эксплуатацию котельного оборудования и приемку его сотрудниками газовой службы
Вне зависимости от того, какой материал будет использован, все вентиляционные каналы, проходящие через холодные зоны, нужно утеплять. В этих местах может уменьшиться тяга, образоваться конденсат, а сам вентканал котельной с газовым котлом может замерзнуть и перестать выполнять свои функции. Именно поэтому лучше протягивать трубы по теплому контуру, исключая вероятность их промерзания.
Кирпичные вытяжные каналы
Кирпич недолговечен, т.к. из-за температурных перепадов на его поверхности образуется конденсат, приводящий к разрушению материала. Если кирпичная кладка берется в качестве материала для шахты, то дымоотвод собирается из одноконтурных оцинкованных металлических труб, толщина которых зависит от температуры выделяемых газов.
Керамические вентиляционные трубы
Воздуховоды из керамики универсальны, удобны в эксплуатации и долговечны. Принцип их сборки схож с технологий устройства керамических дымоходов. За счет высокой газоплотности они устойчивы к сильным загрязнениям разного плана и агрессивным химическим средам.
Но в таких вытяжках необходимо устанавливать конденсатоотводчики, т.к. керамика хорошо впитывает влагу. Конструктивно такая вытяжка состоит из 3 слоев:
- внутренний слой из керамики;
- средний изоляционный слой из камня и минваты;
- внешняя керамзитбетонная оболочка.
Эта вентиляционная система не может иметь больше трех колен. Внизу керамического дымохода устанавливают капельник и ревизию.
Стальные воздуховодные пути
Стальные вытяжные каналы удобны и практичны.
Металлический дымоход в газовой котельной может иметь прямоугольную или округлую в сечении форму, но в этом случае ширина одной его стороны не должна превышать ширину второй в 2 раза
При монтаже стальной системы вентилирования нужно придерживаться следующих рекомендаций:
- Сбор сегментов производится по методу «труба в трубу».
- Стеновые кронштейны крепятся с шагом не больше 150 см.
- Длина горизонтальных сегментов должна быть не более 2 м, если в системе не предусмотрена принудительная тяга.
По стандартам толщина стальных стенок должна быть не меньше 0,5-0,6 мм. Температура газа, который вырабатывают котлы, составляет 400-450 С, из-за чего тонкостенные металлические трубы могут быстро прогореть.
Как сделать вентиляцию в котельной частного дома
Правильный расчет принудительной и естественной конвекции воздуха начинается после анализа. Определяется общий объем помещения, расположение воздуховодов относительно отопительной установки. Устанавливать воздухозаборные решетки на двери или в окне не рекомендуется. Это может изменить направление воздушных потоков.
Рекомендуем несколько полезных статей:
- Как сделать вентиляцию в бане своими руками;
- Создание грамотной вентиляции в подвале частного дома;
- Вентиляция в гараже своими руками.

Схема и расчет
Естественная приточная вентиляция без принудительной устанавливается, если дом не расположен в низине, рядом нет большого скопления деревьев, не расположены другие постройки. Они влияют на обмен, искусственно уменьшая его. Для надежности проектируют дополнительную систему с вентилятором.
Сначала рассчитывают кратность, по нормам она равна 3. Для технического помещения, площадью 15 м² и высотой потолков 2,4 она равна:
К=(6-2,4)*0,25+3=3,95
Рассчитаем эффективный воздухообмен по формуле:
W=K*V
Где:
W – воздухообмен, м³/час;
К – кратность;
V – объем пристройки.
Итого получается – 3,95*(15*2,2)=130 м³. Теперь можно вычислить рабочее сечение входного вентканала – 130/3600=0,036 м². Если будет использоваться труба круглого сечения, ее диаметр должен быть не менее 200 мм.
Эти данные учитывают при выборе канального вентилятора. Его производительность не меньше расчетного обмена. Для небольших площадей можно использовать лопастные модели, реже ставят центробежные.
Места установки элементов определяются до окончательного обустройства. Патрубок для поступления кислорода располагается в нижней части стены, выходной – в верхней зоне пристройки. Это нужно для естественной конвекции. Свободный доступ для обслуживания и ремонта. Защита от засорения входного отверстия – решетки. На выходной не должно влиять тепловое излучение от теплоснабжения.
Материалы и инструменты

Приточный клапан
Материал изготовления воздуховодов – пластик, оцинкованное железо или алюминий. Для автономного частного отопления можно использовать канализационные трубы расчетного диаметра. Дополнительно к ним купить переходники. На входной патрубок – защитную решетку, переходник с обратным клапаном.
Дополнительные материалы:
- Защитные гильзы для перекрытий.
- Крепление – саморезы, монтажные хомуты.
- Монтажная пена для герметизации пустот между гильзами и перекрытиями.
Инструменты – пила для обработки труб, рулетка, линейка. Для формирования отверстий в стене перфоратор со сверлом по бетону с коронкой. Проходной канал в кровле делается с помощью ножовки по дереву или бензопилы. Средства личной защиты – перчатки, очки, респиратор.
Монтаж
Работать рекомендуется в теплое время года. Рабочее место хорошо освещено, нет предметов, мешающих выполнению операций. Инструмент проверить на работоспособность, сделать пробную сборку воздуховодов по схеме.
Сначала намечают места формирования монтажных отверстий в стене и потолке. Входное располагается на высоте от 25 см по уровню земли. Выходное не проходит через стропила кровли. Их можно использовать для крепления патрубка.
Дальнейшие действия по организации системы своими руками.
- Очистить проемы от пыли и грязи.
- Установить проходные гильзы.
- Выполнить монтаж труб.
- Закрепить вертикальную часть, проверить надежность крепления.
- Установить вентилятор, подключить его к электросети.
Для проверки нужно закрыть окна и дверь, включить отопление на 1-3 часа. В твердотопливных моделях должна появиться тяга, в используемых газ не срабатывает защита из-за дефицита кислорода в смеси. К выходному отверстию можно приложить плоский лист бумаги. Он должен оставаться на месте.































Рассмотрим вкратце устройство и применение этих систем вентилирования помещений.







































